返回主站|会员中心|保存桌面|手机浏览|二维码
普通会员

上海隆昌阀门五金机电有限公司

公司主要产品有:日本KITZ(北泽)阀门,日本TLV阀门,日本VENN(阀天)阀...

新闻中心
  • 暂无新闻
产品分类
  • 暂无分类
站内搜索
 
荣誉资质
  • 暂未上传
首页 > 供应产品 > HG5-16-79搪玻璃上展式放料阀
HG5-16-79搪玻璃上展式放料阀
浏览: 242
单价: 面议
最小起订量:
供货总量:
发货期限: 自买家付款之日起 天内发货
有效期至: 长期有效
最后更新: 2013-06-17 13:16
 
详细信息
HG5-16-79搪玻璃上展式放料阀

 

 

HG5-16-79搪玻璃下展放料阀产品介绍:
         搪玻璃设备是含高硅量的玻璃质釉。通过9000C左右高温涂于金属胎而成。它具有良好的机械性能和耐腐蚀性能,能防止介质与金属离子起取代作用而影响污染制品,并且表面光洁、耐磨、有一定的热稳定性。在化工、石油、冶金、制药、农药、染料、食品加工等行业广泛使用 
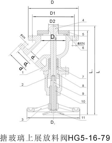
阀门结构如图,适用于设计压力P≤0.6MPa,工作温度t≤150C的搪玻璃上展式放料阀。 
该阀技术条件应符合HG5-16-79的规定。此阀除磷及磷轻介质、氢氟碳、盐酸、氢氧化钠氢氧化钾外能 
耐各种酸、碱、盐溶液及有机溶剂。 

免责声明:以下信息由企业自行提供,内容的真实性、准确性和合法性由发布企业负责。锅炉信息网对此不承担任何保证责任。

询价单